НОВОСТИ   БИБЛИОТЕКА   ЭКЗАМЕН ПО АНАТОМИИ   ЭКЗАМЕН ПО ПАТОЛОГИИ   О САЙТЕ  







предыдущая главасодержаниеследующая глава

Физиология мышц

Мышечной ткани присущи три физиологических свойства: возбудимость - способность на раздражение отвечать возбуждением, проводимость - способность проводить возбуждение и сократимость - способность сокращаться. При сокращении мышца укорачивается или в ней развивается напряжение.

Скелетные, исчерченные (поперечнополосатые) мышцы состоят из отдельных многоядерных волокон, обладающих поперечной исчерченностью. Вдоль каждого мышечного волокна тянется в среднем 2500 миофибрилл, состоящих из двух типов нитей, называемых миофиламентами (протофибриллы). Толстые нити построены из молекул белка миозина, а тонкие - актина. Актиновые нити закреплены на полоске Z, концы их заходят в промежутки между миозиновыми нитями (рис. 46). Поперечная исчерченность мышц объясняется различным светопреломлением актиновых (I) и миозиновых (А) дисков. Темные миозиновые диски обладают двойным лучепреломлением.

Рис. 46. Электронно-микроскопическая картина миофибриллы (схема). Взаимное расположение тонких актиновых и толстых миозиновых нитей в расслабленной (а) и сокращенной (б) миофибрилле. I - изотропный диск; Н - светлая зона; Z - телофрагма; А - анизотропный диск; С - саркомер
Рис. 46. Электронно-микроскопическая картина миофибриллы (схема). Взаимное расположение тонких актиновых и толстых миозиновых нитей в расслабленной (а) и сокращенной (б) миофибрилле. I - изотропный диск; Н - светлая зона; Z - телофрагма; А - анизотропный диск; С - саркомер

При сокращении мышцы миофиламенты не укорачиваются. Актиновые нити вдвигаются между миозиновыми, как бы скользят вдоль них, диск I укорачивается, а А остается без изменения. Это представление о механизме мышечного сокращения получило название теории зубчатого колеса. Вызывает "скольжение" потенциал действия, который активирует кальциевые насосы мышечного волокна и концентрация Са2+ в саркоплазме увеличивается. Кальций запускает механизм "скольжения" миофиламентов, т. е. сокращение мышцы. Как только закончилось сокращение, кальциевый насос понижает концентрацию Ca+2 и миофибриллы расслабляются. Источником энергии, необходимой для мышечного сокращения, служит процесс расщепления аденозинтрифосфата (АТФ). Его называют универсальным клеточным горючим.

Двигательные единицы. В организме скелетные мышцы возбуждаются импульсами, приходящими к ним по двигательным нервам от мотонейронов центральной нервной системы. Аксон, подходя к мышце, ветвится на множество веточек, заканчивающихся концевыми моторными бляшками на мышечных волокнах. Каждый мотонейрон иннервирует от нескольких десятков до нескольких тысяч мышечных волокон. Мотонейрон и иннервируемую им группу мышечных волокон называют двигательной единицей. Двигательная единица работает как единое целое, все ее мышечные волокна сокращаются одновременно. Чем более тонкие, точные движения может совершать мышца, тем мельче моторная единица. Следовательно, моторные единицы очень крупные в мышцах ног и мелкие в мышцах рук, особенно в мышцах, управляющих движениями пальцев.

Методика графической регистрации мышечных сокращений. В эксперименте сокращение мышцы можно вызвать, либо раздражая ее электрическим током (прямое раздражение), либо раздражая иннервирующий ее нерв (непрямое раздражение). Чтобы записать и проанализировать мышечное сокращение, мышцу укрепляют в специальном приборе - миографе. Он состоит из зажима, в котором фиксируют один конец мышцы, и рычажка, к которому при помощи крючка крепится второй конец. Удобнее использовать изолированную икроножную мышцу лягушки.

Для раздражения обычно пользуются электрическим током от стимулятора или индукционной катушки. На одиночное раздражение мышца отвечает одиночным сокращением, при этом она тянет за собой рычажок. На конце рычажка имеется писчик, заполненный чернилами. Если он касается бумаги, натянутой на движущемся барабане кимографа, то записывается кривая мышечного сокращения (рис. 47).

Рис. 47. Кривая одиночного мышечного сокращения. А - изотоническое сокращение: 1 - момент раздражения; 2 - латентный период; 3 - фаза укорочения; 4 - фаза расслабления; 5 - отметка времени 10 мс; Б - кривая одиночного изометрического сокращения мышцы кошки: а - потенциал действия; б - сокращение; t - отметка времени 10 мс
Рис. 47. Кривая одиночного мышечного сокращения. А - изотоническое сокращение: 1 - момент раздражения; 2 - латентный период; 3 - фаза укорочения; 4 - фаза расслабления; 5 - отметка времени 10 мс; Б - кривая одиночного изометрического сокращения мышцы кошки: а - потенциал действия; б - сокращение; t - отметка времени 10 мс

Виды мышечных сокращений. Если мышца при своем сокращении может укорачиваться и поднимать груз, то такое сокращение называют изотоническим. При этом виде сокращений тонус, или напряжение мышцы, не изменяется, а меняется ее длина. Если оба конца мышцы закрепить неподвижно и нанести раздражение, в ней возникнет напряжение, а длина останется неизменной. Такое сокращение называют изометрическим.

Одиночное мышечное сокращение складывается из трех фаз: скрытого периода возбуждения, периода укорочения и периода расслабления.

Под скрытым периодом возбуждения, или латентным периодом, понимают время от момента нанесения раздражения до начала ответа на него. В мышце лягушки он равен 0,01 с. В это время в мышце регистрируется потенциал действия, но сокращения еще нет. Восходящая часть кривой называется периодом укорочения, он длится 0,05 с. Нисходящее колено кривой, соответствующее расслаблению мышцы, продолжается также 0,05 с. Таким образом, длительность одиночного сокращения мышцы лягушки вместе со скрытым периодом составляет 0,11 с. Одиночное сокращение мышц человека и вообще теплокровных животных протекает быстрее и скрытый период короче.

В мышце волна возбуждения предшествует волне сокращения. Это различные физиологические процессы, но распространяются они по мышце с одинаковой скоростью - около 10 м/с.

Сила мышечного сокращения зависит от силы раздражения. На раздражение пороговой силы, т. е. на самый слабый раздражитель, способный вызвать возбуждение, мышца ответит сокращением минимальной силы. Если силу раздражения постепенно увеличивать, то сила сокращения также будет постепенно расти, пока не достигнет определенного максимума, при котором дальнейшее увеличение силы раздражения уже не будет увеличивать силу сокращения.

Зависимость силы сокращения от силы раздражения объясняется тем, что мышца состоит из волокон различной возбудимости. На слабые раздражения отвечают моторные единицы с наибольшей возбудимостью. По мере увеличения силы раздражения возбуждаются все новые моторные единицы, пока максимальный раздражитель не приведет в деятельное состояние все их.

Отдельные мышечные волокна сокращаются по закону "все или ничего", т. е. на пороговое раздражение они отвечают сокращением максимальной силы, а если раздражение ниже порога, то не отвечают вовсе. Целая мышца, состоящая из множества моторных единиц, усиливает сокращение при увеличении силы раздражения.

Тетанус. Если мышцу раздражать серией одиночных ударов тока, т. е. наносить ритмическое раздражение, то возникает длительное укорочение мышцы, которое называют тетанусом. Величина и форма тетануса зависят от силы и частоты раздражения. При действии раздражений небольшой частоты, когда каждое последующее раздражение попадает в фазу расслабления мышцы, наблюдается зубчатый тетанус (рис. 48). Если частота раздражения большая, когда каждое последующее раздражение приходится на время укорочения мышцы, развивается гладкий тетанус - длительное максимальное не колеблющееся укорочение мышц.

Рис. 48. Сокращение икроножной мышцы лягушки при разной частоте раздражения. Одиночное сокращение показано пунктиром. Цифры над кривыми - частота раздражения. При частоте раздражения 20, 25 и 35 в секунду - зубчатый тетанус, 115 в секунду - гладкий тетанус
Рис. 48. Сокращение икроножной мышцы лягушки при разной частоте раздражения. Одиночное сокращение показано пунктиром. Цифры над кривыми - частота раздражения. При частоте раздражения 20, 25 и 35 в секунду - зубчатый тетанус, 115 в секунду - гладкий тетанус

Частота раздражения, при которой возникает зубчатый и гладкий тетанус, различна для разных мышц и разных мышечных волокон. Она зависит от длительности периода сокращения: чем он короче, тем большей должна быть частота, чтобы возник гладкий тетанус.

Функциональные различия двигательных единиц. Различают два вида двигательных единиц: быстрые и медленные, состоящие соответственно из быстрых и медленных мышечных волокон. Некоторые мышцы, например мышцы глазного яблока, состоят преимущественно из быстрых волокон с длительностью сокращения 10 - 30 мс. В других мышцах преобладают медленные волокна (например, камбаловидная) с периодом сокращения 100 мс. Большинство мышц смешанные.

Медленные двигательные единицы развивают небольшую силу сокращения, но могут работать долго без утомления. Быстрые двигательные единицы утомляются быстро, однако дают большую силу сокращения.

Мышечный тонус. Мышцы человека не бывают полностью расслаблены, они всегда в состоянии некоторого напряжения, называемого мышечным тонусом. При этом медленные двигательные единицы сокращаются с небольшой частотой и поддерживают определенное положение тела в пространстве - позу, необходимую для осуществления фазических кратковременных движений. Мышечный тонус доставляет большие затруднения хирургам. После перелома бедра необходимо обеспечить вытяжение ноги, чтобы кости срослись конец в конец. Без вытяжения под действием мышечного тонуса кости срастутся неправильно, что приведет к укорочению ноги.

Сила мышц. Мышца при своем сокращении способна поднять большой груз, масса которого во много раз превышает массу самой мышцы.

Сила мышцы измеряется тем максимальным грузом, который она в состоянии поднять. Зависит сила мышцы от числа мышечных волокон, составляющих данную мышцу, и толщины этих волокон; она прямо пропорциональная физиологическому поперечному сечению, т. е. сумме попeречных сечений всех входящих в нее волокон. В мышцах с продольно расположенными волокнами физиологическое поперечное сечение совпадает с анатомическим - площадью поперечного разреза мышцы, проведенного перпендикулярно ее длине. В перистых и косых мышцах физиологическое сечение больше и соответственно больше мышечная сила.

Сила мышцы, отнесенная на 1 см2 ее физиологического поперечного сечения, называется абсолютной мышечной силой. Для мышц человека она составляет 5 - 10 кг. Мышцы лягушки значительно слабее, их абсолютная сила всего 2 - 3 кг.

При физической тренировке происходит утолщение мышечных волокон и увеличиваются их энергетические ресурсы. В связи с этим возрастает сила мышц.

Работа мышц. Если мышца при своем сокращении поднимает груз, то она производит внешнюю работу, величина которой определяется произведением массы груза на высоту подъема и выражается в килограммометрах (кгм). Например, человек поднимает штангу массой 100 кг на высоту 2 м, при этом совершенная им работа равна 200 кгм.

Наибольшую работу мышца производит при некоторых средних нагрузках. Это явление получило название закона средней нагрузки.

Оказалось, что этот закон верен не только по отношению к отдельной мышце, но и к целому организму. Человек совершает наибольшую работу по поднятию или переносу тяжести, если груз не слишком тяжел и не слишком легок. Большое значение имеет ритм работы: и слишком быстрая, и слишком медленная, монотонная работа быстро приводит к утомлению, а в итоге количество выполненной работы мало. Правильная дозировка нагрузки и ритма работы лежит в основе рационализации тяжелого физического труда.

Неисчерченные (гладкие) мышцы. По своим физиологическим свойствам они отличаются от исчерченных мышц. Возбудимость гладких мышц значительно ниже. Для их возбуждения требуется более сильный и более длительный раздражитель. Возбуждение они проводят очень медленно. Так, например, у человека в мышечной оболочке тонкой кишки оно распространяется со скоростью 1 см/с. В органах, имеющих длинные неисчерченные мышечные клетки, например в мочеточниках кролика, возбуждение распространяется несколько быстрее - 18 см/с. Сокращаются неисчерченные мышцы очень медленно. Период сокращения таких мышц составляет 60 - 80 с, при этом период укорочения - 20 с, а расслабления - 60 с, т. е. в 3 раза длиннее периода укорочения. Кроме того, неисчерченным мышцам в отличие от исчерченных свойствен автоматизм, т. е. они способны сокращаться под влиянием рождающихся в них импульсов возбуждения.

Неисчерченная мускулатура обладает большой растяжимостью. В ответ на медленное растяжение мышца удлиняется, а напряжение ее не увеличивается. Благодаря этому при наполнении внутреннего органа давление в его полости не повышается, как это происходит, например, при растяжении резиновой камеры, в которой по мере ее раздувания растет давление. Так, давление в желудке будет равно 7 см вод. ст. при содержании в нем и 200 мл, и 500 мл жидкости. Способность сохранять приданную растяжением длину без изменения напряжения называют пластическим тонусом. Он является важной физиологической особенностью неисчерченных мышц.

Для неисчерченных мышц характерны медленные движения и длительные тонические сокращения. Примером медленных движений могут служить перистальтические волны пищеварительного тракта. Тоническое сокращение стенок сосудов поддерживает постоянный определенный уровень кровяного давления. Состояние постоянного тонического сокращения характерно для сфинктеров полых органов: желудка, желчного и мочевого пузырей, прямой кишки. Тоническая форма сокращений требует небольших затрат энергии и в отличие от тетануса не сопровождается утомлением.

Главным раздражителем для неисчерченной мышцы является быстрое и сильное растяжение. Это свойство гладких мышц реагировать на растяжение сокращением играет важную роль в деятельности пищеварительного тракта, мочеточников, полых органов, сфинктеров. Неисчерченная мышечная ткань отличается высокой чувствительностью к некоторым химическим раздражителям: ацетилхолину, адреналину, норадреналину, серотонину и др.

Иннервируется гладкая мускулатура симпатическими и парасимпатическими нервами, которые оказывают на нее регулирующее влияние, а не пусковое, как на скелетные мышцы.

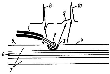
Передача возбуждения с нерва на мышцу. Двигательное нервное волокно, входя в мышцу, теряет миелиновую оболочку и разветвляется. Конечные веточки образуют нервные окончания в форме колечек или подковок, которые погружаются в углубления на поверхности мышечных волокон. Нервные окончания покрыты мембраной, называемой пресинаптической. В их аксоплазме находится большое количество (примерно 3 млн.) пузырьков, содержащих ацетилхолин.

Участок мембраны мышцы, с которым контактирует нервное окончание, называется постсинаптической мембраной. Последняя образует многочисленные складки, благодаря чему ее поверхность увеличивается (рис. 49). Постсинаптическая мембрана содержит холинорецепторы и фермент холинэстеразу, способный разрушать ацетилхолин. Между мембранами нервного и мышечного волокон имеется щель величиной 20 - 50 нм - синаптическая щель. Структурное образование, обеспечивающее передачу возбуждения с нерва на мышцу, называется мионевральным синапсом. Он состоит из пресинаптической мембраны, синаптической щели и постсинаптической мембраны.

Рис. 49. Схема строения нервно-мышечного синапса. 1 - миелиновое нервное волокно; 2 - нервное окончание с пузырьками медиатора; 3 - постсинаптическая мембрана мышечного волокна; 4 - синаптическая щель; 5 - мембрана мышечного волокна; 6 - миофибриллы; 7 - саркоплазма; 8 - потенциал действия нервного волокна; 9 - потенциал концевой пластинки (постсинаптический потенциал); 10 - потенциал действия мышечного волокна
Рис. 49. Схема строения нервно-мышечного синапса. 1 - миелиновое нервное волокно; 2 - нервное окончание с пузырьками медиатора; 3 - постсинаптическая мембрана мышечного волокна; 4 - синаптическая щель; 5 - мембрана мышечного волокна; 6 - миофибриллы; 7 - саркоплазма; 8 - потенциал действия нервного волокна; 9 - потенциал концевой пластинки (постсинаптический потенциал); 10 - потенциал действия мышечного волокна

Нервные импульсы, приходящие по двигательным волокнам, производят деполяризацию мембраны нервного окончания, что вызывает разрушение оболочки пызурьков и поступление в синаптическую щель ацетилхолина. Молекулы ацетилхолина диффундируют к постсинаптической мембране мышечного волокна и связываются здесь холинорецепторами мембраны. Это приводит к увеличению проницаемости постсинаптической мембраны для Na+ и К+. Положительно заряженные ионы устремляются через мембрану внутрь мышечного волокна и на мембране возникает электроотрицательный постсинаптический потенциал. Создавшаяся разность потенциалов между постсинаптической мембраной и окружающей ее мембраной мышечного волокна создает местный ток, возбуждающий мышечную мембрану: в ней возникает потенциал действия, распространяющийся по мышечному волокну. Выделившийся ацетилхолин разрушается ферментом холинэстеразой, и постсинаптическая мембрана снова приобретает свой исходный заряд - поляризуется.

Давно известно, что передача возбуждения в нервно-мышечном синапсе прекращается при отравлении животного растительным ядом кураре. Индейцы применяли на охоте стрелы, отравленные кураре. Пораженное такой стрелой животное теряло способность двигаться и погибало после паралича дыхательных мышц от остановки дыхания.

В настоящее время изучен механизм действия этого вещества и открыто много других, обладающих тем же действием: альфа-тубокурарин, флаксидол, листенон и др. Все они прочно присоединяются к холинорецепторам, закрывают доступ к ним ацетилхолину и прекращают передачу возбуждения с нерва на мышцу. Они нашли широкое применение в хирургической практике.

предыдущая главасодержаниеследующая глава

















© ANFIZ.RU, 2011-2022
При использовании материалов сайта активная ссылка обязательна:
http://anfiz.ru/ 'Анатомия и физиология человека'


Поможем с курсовой, контрольной, дипломной
1500+ квалифицированных специалистов готовы вам помочь