НОВОСТИ   БИБЛИОТЕКА   ЭКЗАМЕН ПО АНАТОМИИ   ЭКЗАМЕН ПО ПАТОЛОГИИ   О САЙТЕ  







предыдущая главасодержаниеследующая глава

Нисходящие (двигательные) пути

Нисходящие (двигательные) пути. Периферические двигательные нервы являются осевыми отростками (аксонами) нервных клеток, расположенных в передних рогах спинного мозга и в соответствующих местах стволового отдела головного мозга. Пройдя к мышце, осевой отросток распадается на мелкие концевые веточки (фибриллы), из которых каждая проникает в отдельное мышечное волокно. Тело первого (низшего) двигательного нейрона дает многочисленные дендриты, при помощи которых оно входит в связь с аксонами, приходящими из различных пунктов, нервной системы (рис. 198).

Рис. 198. Связи дендритов первого низшего двигательного нейрона с аксонами, приходящими из различных двигательных центров. Из Тильней (видоизменен). 1 - волокна для произвольного контроля и задержки движений; 2 - волокна для синергического контроля (совместно с 8); 3 - волокна для производства автоматических ассоциированных движений век, глаз, головы и верхней конечности, для защиты сетчатки и глазного яблока; 4 - волокна для контроля равновесия; 5 - волокна для межсегментного рефлекторного контроля; 6 - волокна для внутрисегментных рефлексов и для тонического контроля; 7 - центральные волокна вестибулярного нерва; 8 - волокна синергического контроля (вместе с 2); 9 - кора мозжечка; 10 - зубчатое ядро; 11 - передний бугор четверохолмия; 12 - красное ядро; 13 - полосатое тело; 14 - ядро Дейтерса; 15 - узел преддверия; 16 - полукружные каналы; 17 - межсегментальная ассоциационная клетка; 18 - клетка спинального узла; 19 - клетка передних рогов спинного мозга; 20 - клетка прецентральной: двигательной области коры; 21 - кора мозга; 22 - мышца
Рис. 198. Связи дендритов первого низшего двигательного нейрона с аксонами, приходящими из различных двигательных центров. Из Тильней (видоизменен). 1 - волокна для произвольного контроля и задержки движений; 2 - волокна для синергического контроля (совместно с 8); 3 - волокна для производства автоматических ассоциированных движений век, глаз, головы и верхней конечности, для защиты сетчатки и глазного яблока; 4 - волокна для контроля равновесия; 5 - волокна для межсегментного рефлекторного контроля; 6 - волокна для внутрисегментных рефлексов и для тонического контроля; 7 - центральные волокна вестибулярного нерва; 8 - волокна синергического контроля (вместе с 2); 9 - кора мозжечка; 10 - зубчатое ядро; 11 - передний бугор четверохолмия; 12 - красное ядро; 13 - полосатое тело; 14 - ядро Дейтерса; 15 - узел преддверия; 16 - полукружные каналы; 17 - межсегментальная ассоциационная клетка; 18 - клетка спинального узла; 19 - клетка передних рогов спинного мозга; 20 - клетка прецентральной: двигательной области коры; 21 - кора мозга; 22 - мышца

Таким образом, к первому двигательному нейрону подходят импульсы от дорзальных (задних) корешков, от fasciculi proprii спинного мозга, а также от целого ряда трактов, спускающихся в спинной мозг от важнейших ядер головного мозга (от коры двигательной зоны мозговых полушарий, от полосатого тела, от четверохолмия, от красного ядра и от бокового вестибулярного ядра). Словом, откуда бы ни распространялся нервный двигательный импульс, в конце концов, чтобы вызвать мышечное сокращение, он обязательно должен пройти через первый двигательный нейрон.

Наиболее важными двигательными путями у человека (и у Других млекопитающих) являются tractus cortico-spinalis и tractus cortico-bulbaris. При помощи этих трактов деятельность нашего тела становится в зависимость от нашей воли. Tractus cortico-spinalis несет произвольные двигательные импульсы от коры мозговых полушарий к передним рогам спинного мозга, а tractus cortico-bulbaris от коры мозговых полушарий к двигательным ядрам черепных нервов.

Tractus cortico-spinalis начинается в пирамидных клетках прецентральной извилины, приблизительно на протяжении верхних трех четвертей ее длины. Нижняя четверть этой извилины дает начало кортико-бульбарному тракту. Клеточное тело 1-го звена кортико-спинального тракта, как указано выше помещается в коре прецентральной извилины. Аксоны этих клеток через corona radiata спускаются во внутреннюю капсулу, где занимают передний отдел заднего бедра; в basis ножек мозга они занимают срединный отдел приблизительно на протяжении 3/5 всей ширины ножки; при входе в basis варолиева моста компактный пучок волокон кертико-спинального тракта постепенно расслаивается при помощи поперечных волокон и ядер моста на отдельные меньшие пучки, которые у заднего края варолиева моста снова собираются в компактный пучок, продолжающийся в пирамиды продолговатого мозга. Каждая из пирамид несет волокна от коры соответствующего полушария мозга. У нижнего края продолговатого мозга приблизительно 3/4 волокон каждой пирамиды, занимающие ее внутренний отдел, переходят через среднюю линию и спускаются вниз в боковых столбах спинного мозга (tractus cortico-spinalis lateralis), лежа медиально по отношению к заднему спинно-мозжечковому тракту.

Оставшаяся неперекрещенной наружная 1/4 волокон каждой пирамиды спускается вниз в передних столбах спинного мозга, располагаясь близ передней продольной борозды (tractus cortico-spinalis ventralis).

Эти волокна постепенно перекрещиваются в вентральной коммиссуре и, в конце концов, оканчиваются в шейной и верхней грудной областях, придя в связь с двигательными нейронами противоположной стороны. Таким образом, оба подотдела кортико-спинального тракта являются перекрещенными.

Число волокон, принимающих участие в образовании tractus cortico-spinalis lateralis, сильно колеблется у различных индивидуумов. Иногда почти все волокна пирамиды переходят в перекрещенный пучок, а иногда, наоборот, почти все волокна остаются неперекрещенными, и в tractus cortico-spinalis lateralis переходит лишь самая незначительная часть волокон. Tractus cortico-spinalis ventralis отмечен только у человека и у высших человекообразных обезьян; у низших обезьян и у других млекопитающих он, по-видимому, отсутствует.

Клеточным телом 2-го звена кортико-спинального тракта, как было указано выше, является промежуточная клетка, а клеточным телом 3-го звена будет служить двигательная клетка переднего рога, аксон которой заканчивается в мышце.

Волокна кортико-спинального тракта на своем пути дают коллатерали к corpus striatum, к ядрам моста (рис. 199) и к nuclei arcuati.

Рис. 199. Схема длинных нисходящие путей от коры мозга (из Виллигера). 1 - лобно-мостовый тракт; 2 - корково-спинальный (пирамидный) тракт; 3 - затылочно-височно-мостовый тракт; 4 - варолиев мост (ядра моста); 5 - мозжечок
Рис. 199. Схема длинных нисходящие путей от коры мозга (из Виллигера). 1 - лобно-мостовый тракт; 2 - корково-спинальный (пирамидный) тракт; 3 - затылочно-височно-мостовый тракт; 4 - варолиев мост (ядра моста); 5 - мозжечок

Кортико-бульбарный тракт (tractus cortico-bulbaris). Клеточное тело 1-го звена этого тракта, как указано выше, помещается в коре головного мозга, в нижней четверти прецентральной извилины. Аксоны 1-го звена через corona radiata проникают в колено внутренней капсулы, откуда спускаются вниз, разделившись по пути на две группы. Одна группа следует по ходу tractus cortico-spinalis через базальные отделы ножки и варолиева моста и через пирамиды продолговатого мозга; другая, в виде небольших пучков, отделяется от предыдущей на различных уровнях стволовой части головного мозга. Эти тонкие пучки, вступив в ретикулярное образование, спускаются в область, занятую медиальным лемниском, и отдают волокна, которые при посредстве промежуточных нейронов 2-го звена приходят в связь с двигательными ядрами черепных нервов (3-е звено). В обонятельном отделе ножек мозга кортико-бульбарные волокна частью собраны в виде медиального и латерального кортико-бульбарных трактов, частью перемешаны с кортико-спинальными волокнами. Большинство волокон 1-го звена переходит через срединную плоскость на противоположную сторону, но некоторые устанавливают связь с двигательными ядрами той же стороны. Клеточные тела 3-го звена этой цепи находятся в двигательных ядрах черепномозговых нервов. Аксиальные отростки этих клеток проходят в черепномозговых двигательных нервах и оканчиваются в поперечнополосатой мускулатуре.

Корково-мостово-мозжечковый путь (tractus cortico-ponto-cerebellariti) (рис. 200) ставит мозжечок в зависимость от мозговой коры. По-видимому, через этот путь координирующий и тонизирующий механизм мозжечка приводится в действие для регулирования движений, исходным пунктом которых является кора мозга. 1-е звено этого пути состоит из подотделов, берущих свое начало в различных ассоциационных участках мозговой коры. Установлена несомненная связь с задней половиной лобной доли и задней половиной височной доли, но, по-видимому, существуют также связи с теменной и затылочной долями, а может быть, и с передними половинами лобной и височной долей.

Рис. 200. Корково-мостово-мозжечковый путь и мозжечково-красноядерно-спинальный путь (из Рансона). 1 - лобно-мостовый тракт; 2 - корково-спинальный тракт (пирамидный); 3 - ядра моста; 4 - красное ядро; 5 - клетки Пуркинье (в мозжечке); 6 - зубчатое ядро; 7 - brachium conjunctivum; 8 - красноядерно-спинальный тракт; 9 - поперечнополосатая мышца
Рис. 200. Корково-мостово-мозжечковый путь и мозжечково-красноядерно-спинальный путь (из Рансона). 1 - лобно-мостовый тракт; 2 - корково-спинальный тракт (пирамидный); 3 - ядра моста; 4 - красное ядро; 5 - клетки Пуркинье (в мозжечке); 6 - зубчатое ядро; 7 - brachium conjunctivum; 8 - красноядерно-спинальный тракт; 9 - поперечнополосатая мышца

У некоторых млекопитающих корково-мостовые связи представлены, по-видимому, лишь через коллатерали корково-спинального пути к ядрам моста.

Клеточные тела лобно-мостового подотдела находятся в коре лобной доли, в области, расположенной кпереди от прецентральной борозды. Аксоны этих клеток проходят через переднее бедро внутренней капсулы, затем через срединный (внутренний) отдел основания ножки мозга, занимая приблизительно 1/5 ее ширины, и оканчиваются разветвлениями вокруг клеток базальных ядер моста.

Клеточные тела височно-мостового подотдела помещаются в коре заднего участка двух верхних височных извилин. Этот путь, по-видимому, связан со слуховой системой. Аксоны клеток указанной области коры направляются кнутри, лежа под nucleus lenticularis, входят в задний отдел заднего бедра внутренней капсулы (pars retrolenticularis), достигают основания ножки мозга, где занимают самый наружный отдел па протяжении приблизительно одной пятой ширины всей ножки спускаются в вентральный отдел моста, где и заканчиваются среди мостовых ядер.

Клеточные тела нейронов второго звена корково-мостово-мозжечкового пути помещаются в базальных ядрах моста; аксоны этих клеток перекрещивают срединную плоскость, переходят на противоположную сторону и через соответствующую bracljium pontis и белое вещество мозжечка доходят до мозжечковой коры.

Мозжечково-красноядерно-спинальный тракт (tratus cerebello-rubro-spinalis) (рис. 200) представляет собой систему волокон, при помощи которой мозжечок принимает участие в контроле первичных двигательных нейронов спинного мозга в целях мышечной координации, поддержания равновесия и сохранения мышечного тонуса. Клеточные тела 1-го звена этого пути находятся в коре мозжечка (клетки Пуркинье). Аксоны этих клеток оканчиваются Bnucleus dentatus, а возможно, что и в других центральных ядрах мозжечка. Клеточные тела нейронов 2-го звена помещаются в только что указанных ядрах. Аксоны клеток 2-го звена через верхние ножки мозжечка направляются к среднему мозгу, образуют перекрест в его tegmentum под задними буграми четверохолмия и оканчиваются в nucleus ruber и в thalamus. Клеточные тела 3-го звена помещаются в красном ядре. Аксоны клеток 3-го звена на уровне передних бугров четверохолмия переходят через срединную плоскость, образуя вентральный перекрест (decussatio ventralis tegmenti), и спускаются вниз через ретикулярное образование мозгового ствола и боковые столбы спинного мозга. Оканчиваются аксоны 3-то звена в сером веществе передних рогов, среди первичных двигательных нейронов.

Различные рефлекторные центры стволовой части головного мозга также посылают двигательные волокна вниз, в спинной мозг; для возбуждения движений туловища и конечностей. К таким путям относятся: 1) tractus tecto-spinalis и 2) tractus vestibulo-spinalis.

Tractus tecto-spinalis идет от зрительного и слухового центров среднего мозга к спинному мозгу. Часть этих волокон образует в среднем мозгу перекрест (decussatio dorsalis tegmenti). Служит этот путь, по-видимому, для рефлекторных движений туловища и конечностей зрительного, а вероятно, и слухового происхождения.

Tractus vestibulo-spinalis идет к спинному мозгу от бокового ядра (Дейтерса) вестибулярного нерва в продолговатом мозгу и предназначен, очевидно, для рефлексов равновесия. Tractus tecto-spinalis и tractus vestibulo-spinalis входят в состав fasciculus marginalis ventralis спинного мозга (краевой вентральный пучок). Концевые веточки того и другого тракта уходят в серое вещество передних рогов.

В рефлекторных движениях таламического происхождения значительное участие, по-видимому, принимает tractus rubro-spinalis.

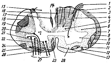
На рис. 201, взятому Kuntz, ясно видно расположение восходящих и нисходящих путей в спинном мозгу.

Рис. 201. Схема поперечного сечения спинного мозга человека на уровне V шейного нерва. На правой стороне рисунка показаны важнейшие из восходящих трактов (заштрихованы горизонтальными линиями), на левой - важнейшие из нисходящих (заштрихованы косо идущими линиями) (из Геррика). 1 - radix dorsalis; 2 - fasciculus dorso-lateralis; 3 - tractus spino-cerebellaris dorsalis; 4 - columna dorsalis (задний рог); 5 - fasciculus proprius dorsalis; 6 - fasciculus proprius lateralis; 7 - tractus spino-cerebellaris ventralis; 8 - tractus spino-thalamicus lateralis; 9 - columna ventralis (передний рог); 10 - tractus spinq-tectalis; 11 - tractus spino-thalamicus ventralis; 12 - tractus spino-olivaris; 13 - fasciculus sulco-marginalis; 14 - fasciculus gracilis; 15 - fasciculus cuneatus; 16 - fasciculus septo-marginalis; 17 - fasciculus interfascicularis; 18 - tractus cortico-spinalis lateralis; 19 - tractus rubro-spinalis; 20 - nucleus dorso-lateralis; 21 - nucleus ventro-medialis; 22 - nucleus ventro-lateralis; 23 - tractus cortico-spinalis ventralis; 24 - tractus olivo-spinalis; 25 - tractus tecto-spinalis; 26 - tractus vestibulo-spinalis; 27 - radix ventralis; 28 - fasciculus proprius ventralis
Рис. 201. Схема поперечного сечения спинного мозга человека на уровне V шейного нерва. На правой стороне рисунка показаны важнейшие из восходящих трактов (заштрихованы горизонтальными линиями), на левой - важнейшие из нисходящих (заштрихованы косо идущими линиями) (из Геррика). 1 - radix dorsalis; 2 - fasciculus dorso-lateralis; 3 - tractus spino-cerebellaris dorsalis; 4 - columna dorsalis (задний рог); 5 - fasciculus proprius dorsalis; 6 - fasciculus proprius lateralis; 7 - tractus spino-cerebellaris ventralis; 8 - tractus spino-thalamicus lateralis; 9 - columna ventralis (передний рог); 10 - tractus spinq-tectalis; 11 - tractus spino-thalamicus ventralis; 12 - tractus spino-olivaris; 13 - fasciculus sulco-marginalis; 14 - fasciculus gracilis; 15 - fasciculus cuneatus; 16 - fasciculus septo-marginalis; 17 - fasciculus interfascicularis; 18 - tractus cortico-spinalis lateralis; 19 - tractus rubro-spinalis; 20 - nucleus dorso-lateralis; 21 - nucleus ventro-medialis; 22 - nucleus ventro-lateralis; 23 - tractus cortico-spinalis ventralis; 24 - tractus olivo-spinalis; 25 - tractus tecto-spinalis; 26 - tractus vestibulo-spinalis; 27 - radix ventralis; 28 - fasciculus proprius ventralis

предыдущая главасодержаниеследующая глава

















© ANFIZ.RU, 2011-2022
При использовании материалов сайта активная ссылка обязательна:
http://anfiz.ru/ 'Анатомия и физиология человека'


Поможем с курсовой, контрольной, дипломной
1500+ квалифицированных специалистов готовы вам помочь